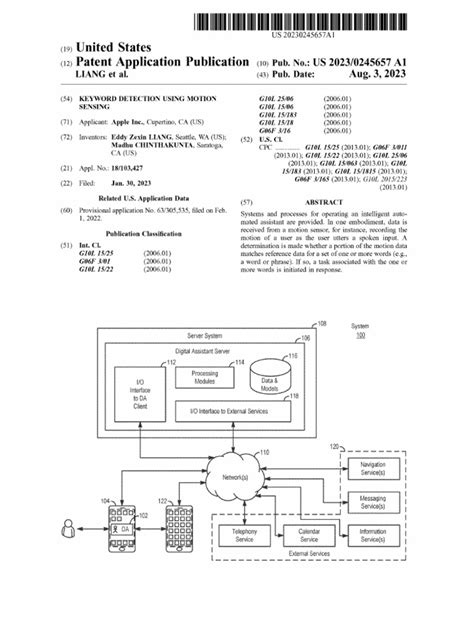
Keyword Detection In Python: A Simple Guide

S.Onlinenic 73 views
Keyword Detection In Python: A Simple Guide

Keyword Detection in Python: A Simple Guide

Hey guys! Ever wondered how to pluck out the most important words from a mountain of text using Python? Well, you’re in the right place! This guide will walk you through the magic of keyword detection using Python, making it super easy to understand and implement. Whether you’re analyzing customer feedback, optimizing content for search engines, or just trying to get a quick summary of a document, knowing how to identify keywords is a seriously handy skill.

Why Keyword Detection Matters

Keyword detection is super important because it helps us quickly understand what a text is all about. Think of it like this: imagine you have a massive pile of documents, and you need to find all the ones that talk about a specific topic, like “artificial intelligence.” Instead of reading every single document, you can use keyword detection to automatically find the ones that mention “artificial intelligence” frequently. This saves a ton of time and effort!

Keyword analysis can reveal the main themes and topics discussed. This is incredibly useful in several fields. For example, in marketing , it can help you understand what your customers are talking about, what their needs are, and how they perceive your brand. By analyzing social media posts, customer reviews, and survey responses, you can identify the keywords that are most frequently associated with your products or services. This information can then be used to tailor your marketing campaigns and improve customer satisfaction.

In search engine optimization (SEO) , keyword detection is essential for making sure your content ranks high in search results. By identifying the keywords that people are using to search for information related to your business, you can optimize your website and content to include those keywords. This will help search engines like Google understand what your website is about and show it to the right people. Similarly, in academic research , keyword extraction helps in summarizing research papers and identifying relevant literature. Researchers can quickly grasp the core ideas of a paper by looking at its keywords, and they can use keyword search to find other papers that are related to their research topic.

Getting Started with Keyword Detection in Python

So, how do we actually do keyword detection in Python? First off, you’ll need to install a few libraries that will make our lives much easier. We’re talking about nltk (Natural Language Toolkit) and scikit-learn . NLTK is like the Swiss Army knife for natural language processing, and scikit-learn gives us some powerful tools for machine learning.

To install these, just fire up your terminal and run:

pip install nltk scikit-learn

Once you’ve got those installed, you’re ready to dive into the code. We’ll start with a basic example and then move on to more advanced techniques.

Basic Keyword Extraction with NLTK

Let’s start with a simple approach using NLTK. This involves cleaning the text, tokenizing it, removing stop words, and then counting the frequency of the remaining words. Here’s how you can do it:

import nltk
from nltk.corpus import stopwords
from nltk.tokenize import word_tokenize

nltk.download('punkt')
nltk.download('stopwords')

def extract_keywords(text, num_keywords=10):
    # Tokenize the text
    word_tokens = word_tokenize(text)

    # Remove stop words
    stop_words = set(stopwords.words('english'))
    filtered_tokens = [w for w in word_tokens if not w in stop_words]

    # Calculate word frequencies
    word_frequencies = {}
    for word in filtered_tokens:
        if word in word_frequencies:
            word_frequencies[word] += 1
        else:
            word_frequencies[word] = 1

    # Sort words by frequency
    sorted_words = sorted(word_frequencies.items(), key=lambda x: x[1], reverse=True)

    # Return the top N keywords
    return sorted_words[:num_keywords]

# Example usage
text = """Python is a high-level, general-purpose programming language. Its design philosophy emphasizes code readability with the use of significant indentation. Python is dynamically-typed and garbage-collected. It supports multiple programming paradigms, including structured (particularly procedural), object-oriented, and functional programming. Python is often described as a 'batteries included' language due to its comprehensive standard library."""

keywords = extract_keywords(text)
print(keywords)

In this code, we first download the necessary resources from NLTK ( punkt for tokenization and stopwords for, well, stop words). Then, we define a function extract_keywords that takes the text and the number of keywords we want to extract as input. The function tokenizes the text into individual words, removes common stop words like “the,” “a,” and “is,” calculates the frequency of each word, sorts the words by frequency, and returns the top N keywords.

TF-IDF for More Accurate Keyword Detection

While the basic method is a good start, it doesn’t take into account the importance of a word in the context of the entire document. That’s where TF-IDF (Term Frequency-Inverse Document Frequency) comes in. TF-IDF measures how important a word is to a document in a collection of documents (or corpus). It gives a higher weight to words that appear frequently in a specific document but are rare in the entire corpus.

Here’s how you can implement keyword detection using TF-IDF with scikit-learn:

from sklearn.feature_extraction.text import TfidfVectorizer

def extract_keywords_tfidf(text, num_keywords=10):
    # Create a TfidfVectorizer object
    vectorizer = TfidfVectorizer(stop_words='english')

    # Fit and transform the text
    tfidf_matrix = vectorizer.fit_transform([text])

    # Get the feature names (words)
    feature_names = vectorizer.get_feature_names_out()

    # Get the TF-IDF scores
    tfidf_scores = tfidf_matrix.toarray()[0]

    # Create a dictionary of word and TF-IDF score
    word_tfidf_scores = dict(zip(feature_names, tfidf_scores))

    # Sort words by TF-IDF score
    sorted_words = sorted(word_tfidf_scores.items(), key=lambda x: x[1], reverse=True)

    # Return the top N keywords
    return sorted_words[:num_keywords]

# Example usage
text = """Python is a high-level, general-purpose programming language. Its design philosophy emphasizes code readability with the use of significant indentation. Python is dynamically-typed and garbage-collected. It supports multiple programming paradigms, including structured (particularly procedural), object-oriented, and functional programming. Python is often described as a 'batteries included' language due to its comprehensive standard library."""

keywords = extract_keywords_tfidf(text)
print(keywords)

In this code, we use TfidfVectorizer from scikit-learn to calculate the TF-IDF scores for each word in the text. The fit_transform method fits the vectorizer to the text and transforms the text into a TF-IDF matrix. Then, we get the feature names (words) and the TF-IDF scores, create a dictionary of word and TF-IDF score, sort the words by TF-IDF score, and return the top N keywords. This method generally gives more accurate and relevant keywords compared to the basic frequency counting method.

Advanced Techniques and Considerations

Alright, so we’ve covered the basics. But what if you want to take your keyword detection skills to the next level? Here are some advanced techniques and considerations to keep in mind.

Stemming and Lemmatization

Stemming and lemmatization are techniques used to reduce words to their root form. Stemming chops off the ends of words, while lemmatization uses a vocabulary and morphological analysis to get to the root form.

For example, the words “running,” “runs,” and “ran” would all be reduced to “run” by a stemmer. A lemmatizer would do the same, but it would also ensure that the root form is a valid word. Using stemming or lemmatization can help improve the accuracy of keyword detection by grouping related words together.

N-grams

N-grams are sequences of N words. For example, in the sentence “The quick brown fox,” the 2-grams (or bigrams) would be “The quick,” “quick brown,” and “brown fox.” Using n-grams can help capture phrases and collocations that are important in the text.

Custom Stop Word Lists

The default stop word lists in NLTK and scikit-learn are pretty good, but they might not be perfect for your specific use case. You might want to create a custom stop word list that includes words that are common in your domain but don’t carry much meaning. For example, if you’re analyzing customer reviews for a restaurant, you might want to add words like “food,” “service,” and “restaurant” to your stop word list.

Part-of-Speech Tagging

Part-of-speech (POS) tagging involves labeling each word in a sentence with its part of speech (e.g., noun, verb, adjective). You can use POS tagging to filter out certain types of words that are not likely to be keywords. For example, you might want to only consider nouns and adjectives as potential keywords.

Domain-Specific Knowledge

Finally, don’t underestimate the power of domain-specific knowledge. If you’re working in a specific field, you might have a good idea of what the important keywords are. You can use this knowledge to guide your keyword detection process and improve its accuracy.

Real-World Applications

So, where can you actually use keyword detection in the real world? Here are a few examples:

  • Content Optimization: Identify the keywords that are most relevant to your content and use them to optimize your website and blog posts for search engines.
  • Customer Feedback Analysis: Analyze customer reviews, survey responses, and social media posts to understand what your customers are saying about your products or services.
  • Document Summarization: Automatically summarize long documents by identifying the most important keywords and sentences.
  • Topic Modeling: Discover the main topics discussed in a collection of documents by identifying the keywords that are most frequently associated with each topic.
  • Information Retrieval: Improve the accuracy of search engines by using keyword detection to find documents that are relevant to a user’s query.

Conclusion

Alright, we’ve covered a lot of ground in this guide. You’ve learned how to extract keywords from text using Python, starting with basic frequency counting and moving on to more advanced techniques like TF-IDF. You’ve also learned about stemming, lemmatization, n-grams, custom stop word lists, and part-of-speech tagging.

With these skills in your toolkit, you’ll be well-equipped to tackle a wide range of keyword detection tasks. Whether you’re optimizing content for search engines, analyzing customer feedback, or just trying to get a quick summary of a document, you’ll be able to do it with confidence.

So go forth and start extracting those keywords! And remember, practice makes perfect. The more you experiment with these techniques, the better you’ll become at identifying the most important words in any text. Happy coding!